Nova patente da Nintendo trará conceito de "rastreio de olho" para os video-games
Por Mario Toledo
As técnicas de "eye-tracking" são famosas na área computacional. Já vi muitos trabalhos do ramo que permitem identificar padrões e gestos de usuários através do movimento ocular, sendo que a maioria são usados para portadores de deficiência que não conseguem se expressar ou realizar movimentos com os membros.
Aparentemente, a Nintendo deseja utilizar a técnica para criar uma imersão maior em seus jogos. Sua nova patente, publicada hoje, registra algo como um "sistema de rastreio de olhos em visualização 3D no 2D convencional", onde o usuário utilizaria de um óculos em conjunto com um dispositivo para ter não só a sensação de "3D fora da tela" ao jogar um game, como também ter uma perspectiva do jogo a partir de qualquer ponto em que focar, conforme relatado no resumo da patente:
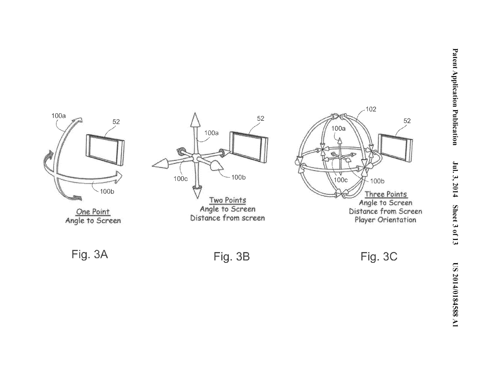
A tecnologia ilustrativa não-limitante permite visualizar 3D em um monitor 2D convencional, como um televisor que rastreia o ponto de vista de uma pessoa. Detectar o ponto de vista do movimento de um jogador para alterar a visualização de um objeto lhe dá a ilusão de que o objeto é fisicamente presente em um espaço tridimensional.
Detecção do ponto de vista de um movimento pode permitir lógicas relacionadas a colisão nos jogos, permitindo que o jogador desvie de projéteis, dando a habilidade do personagem de "ver" coisas que antes não estavam a seu alcance.
A patente ainda contém algumas imagens ilustrativas, conforme vistas abaixo.
O que esta patente representa é algo como uma corrida atrás dos promissores óculos de realidade, como o Oculus Rift. Será que este dispositivo vingará, ou será algo como o Vitality Sensor do Wii? O que você acha? Comente abaixo!








