Patente mostra registros de celular da Nintendo parecido com o Game Boy
Por Mario Toledo
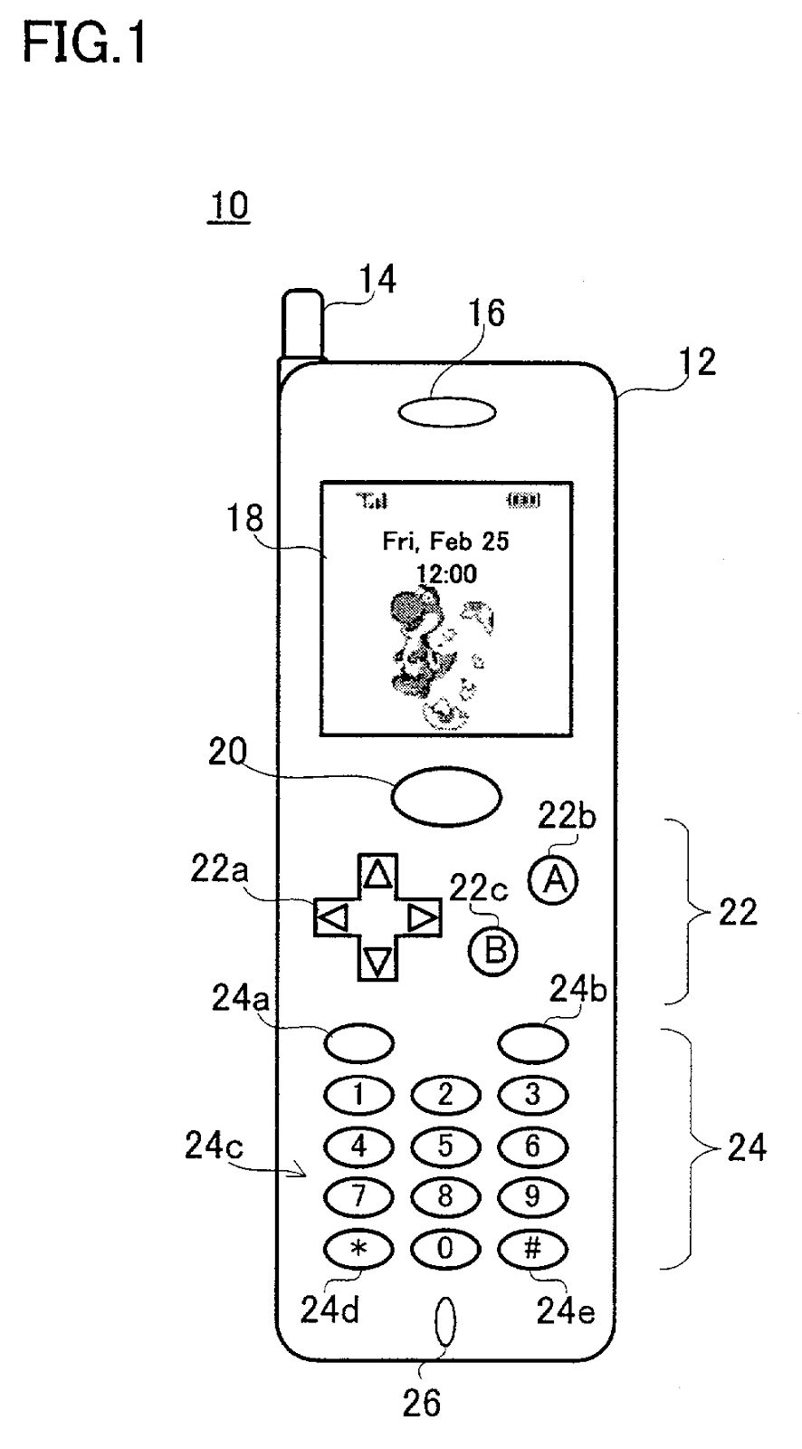
Apesar da Nintendo ter publicado seu primeiro aplicativo mobile apenas este ano, não é de hoje que a empresa tem interesses no setor. Uma patente registrada em 2000 que mostra um celular (daqueles antigos) foi revelada em um fórum do Reddit, apresentando um conceito onde seria possível jogar jogos dedicados no aparelho, parecido com os lançados para o Game Boy. Diferente dos aparelhos da época, este incluiria botões para movimento do personagem e os clássicos botões "A" e "B".
As imagens também mostram algumas funcionalidades do celular, como a possibilidade de pausar um game quando tiver uma chamada para ser atendida.
O projeto acabou não vindo a tona, mas a Nintendo não desistiu dos conceitos de jogos dedicados ao mercado mobile. Em todo caso, você compraria um celular da Nintendo?




