Novas patentes da Nintendo incluem controles destacáveis reconhecidos por câmeras com infravermelho
Por Mario Toledo
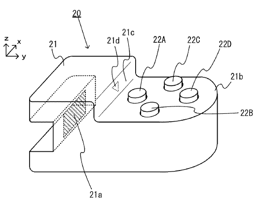
Uma delas traz maiores detalhes dos controles destacáveis que vimos em patentes anteriores. No desenho do protótipo, estes controles se apresentam em um formato de acessório com botões, que pode ser plugado ou desplugado. Na descrição, é explicado que não existe qualquer conexão elétrica entre o acessório e o dispositivo, enquanto a detecção se o botão foi pressionado ou não é feito através de uma câmera com infravermelho.
Nas imagens abaixo, é possível ver melhor o acessório destacável, juntamente com uma imagem do dispositivo, que apresenta analógicos em seus extremos.
As demais patentes falam de um sistema de reconhecimento de gestos e identificação de distâncias utilizando a mesma câmera infravermelho disponível para o acessório acima. Como exemplo, é explorado um jogo de jo-ken-pô, onde o dispositivo identifica as 3 ações disponíveis no jogo.
A Nintendo prometeu o lançamento de sua nova plataforma, o NX, para o ano que vem. Até o final do ano, é possível que tenhamos uma apresentação exclusiva do aparelho.




