Nova patente da Nintendo sugere suporte a caneta de toque para o Switch
Por Mario Toledo
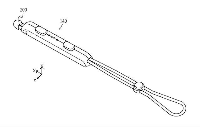
Uma nova patente registrada pela Nintendo no ano passado veio a publico recentemente, apresentando um protótipo do que seria um suporte para canetas de toque para o Switch através dos Joy-Con.
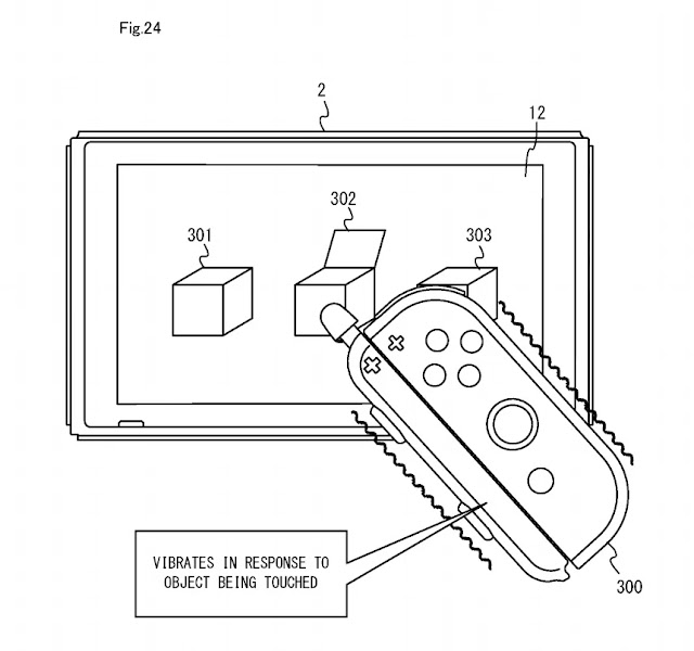
Basicamente, a patente mostra uma caneta de toque anexada a um Joy-Con de tal forma que permita que o acessório possa ser utilizado na tela de toque do Nintendo Switch. O destaque fica para a possibilidade do uso dos demais recursos do Joy-Con enquanto a caneta estiver sendo deslizada na tela, permitindo maior interação do jogador. Em um dos exemplos apresentados na patente, o jogador poderia desenhar uma linha na tela enquanto recebe feedback imediato através do HD Rumble, além de poder trocar a espessura da linha através dos botões.
As canetas de toque são acessórios presentes nos portáteis da Nintendo desde o Nintendo DS, sendo úteis em jogos que necessitam da interação do jogador com a tela de toque.
Fonte



